Будьте всегда в курсе!
Узнавайте о скидках и акциях первым
Новости
Все новости
17 марта 2026
Обучающий семинар ZONT 31 марта
18 декабря 2025
Режим работы в новогодние праздничные дни
Твердотопливный котел Куппер ОВК-10
Котел твердотопливный напольный со встроенной варочной панелью Куппер ОВК-10, мощность 10 кВт, в комплекте с ТЭН, глубина топки 325 мм, гарантия 3 года, Россия
24 650 ₽/шт
-
+
Под заказ
Срок поставки необходимо
получить у менеджера.
получить у менеджера.
| Тип отопительного котла | твердотопливный |
| Количество контуров | одноконтурный |
Доставка
- По Санкт-Петербургу - бесплатно.
- По России - через транспортные компании. Рассчитать стоимость доставки самостоятельно.
Оплата
- Картой онлайн
- Наличиными/картой в офисе
- Безналичным переводом
- Характеристики
- Устройство
- Комплект поставки
- Документация
- Отзывы (0)
- Задать вопрос
-
Общая информация Тип отопительного котла твердотопливный Количество контуров одноконтурный Вид топлива дрова, уголь, электричество Модель Куппер ОВК-10 Тип установки напольный Гарантия, лет 3 Технические характеристики Мощность, кВт 10 Отапливаемая площадь, м2 100 Глубина топки, мм 325 Емкость для воды, л 25 Емкость топки, л 18 Тип камеры сгорания открытая Подключение Диаметр входного/выходного патрубка, дюйм 1.1/2 Диаметр дымохода, мм 115 Размеры и масса Вес, кг 86 Габариты (ВxШxГ), мм 745х415х510 Комплектация и встроенное оборудование Опция ТЭН есть,3x2 (220/380) Термометр есть Варочная панель да Дополнительная информация Регулятор тяги дополнительная опция Материал теплообменника сталь 09Г2С Информация о производителе Торговая марка Теплодар Страна Россия -

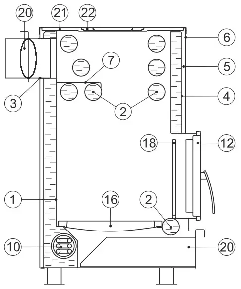
- Корпус топки.
- Трубный теплообменник.
- Патрубок дымосборника.
- Корпус водяной рубашки.
- Слой базальтового картона.
- Кожух.
- Козырёк.
- Штуцер подачи.
- Штуцер обратки.
- Блок ТЭНов.
- Загрузочная дверца.
- Растопочная дверца.
- Загрузочный канал.
- Поворотная створка.
- Автоматический регулятор тяги.
- Колосник.
- Съёмная опора колосника.
- Заслонка-отбойник.
- Зольный ящик.
- Шибер поворотный.
- Чугунная варочная плита.
- Чугунные кольца.
-
- Котел.
- Козырек.
- Заслонка-отбойник.
- Колосник.
- Ящик зольника.
- Шуровка.
- Кочерга.
- Руководство по эксплуатации.
- Заглушка Dy 40 G1 1/2".
- Дверца растопочная.
- Термометр.
- Блок ТЭНов 6 кВт.
- Комплект чугунных колец
- Шибер поворотный 115 мм.
-
ПаспортРазмер: 14,9 мбСертификат соответствияРазмер: 901 кб
-
Вы можете задать любой интересующий вас вопрос по товару или работе магазина.
Наши квалифицированные специалисты обязательно вам помогут.
Задать вопрос
Ранее вы смотрели



